CSI-Z533口腔燈陰影測試工裝?
執行標準:
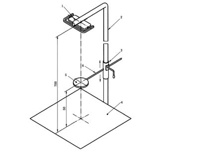
YY/T 1120-2021中7.3.8
技術參數;
圓盤直徑:φ 20mm (厚:1mm)
距離測量屏:50mm
測量屏:帶直角坐標系
光源距屏:700mm
工裝包含柱、調節用滑動環、測試屏、桿
配置清單
工裝一套,合格證一份,銘牌一份。

CSI-Z533口腔燈陰影測試工裝?
執行標準:
YY/T 1120-2021中7.3.8
技術參數;
圓盤直徑:φ 20mm (厚:1mm)
距離測量屏:50mm
測量屏:帶直角坐標系
光源距屏:700mm
工裝包含柱、調節用滑動環、測試屏、桿
配置清單
工裝一套,合格證一份,銘牌一份。
CSI-Z533口腔燈陰影測試工裝?
執行標準:
YY/T 1120-2021中7.3.8
技術參數;
圓盤直徑:φ 20mm (厚:1mm)
距離測量屏:50mm
測量屏:帶直角坐標系
光源距屏:700mm
工裝包含柱、調節用滑動環、測試屏、桿

配置清單
工裝一套,合格證一份,銘牌一份。
上海程斯智能科技有限公司
電話:13386202197
傳真:
地址:上海市奉賢區莊行鎮東街265號
郵編: